
The Fourier Transform can be used to represent any well behaved function f ( x ) .
where
A
(
k
)
=
∫∞
−
∞
f
(
x
)
cos
(
kx
)
ⅆ
x
B
(
k
)
=
∫∞
−
∞
f
(
x
)
sin
(
kx
)
ⅆ
x
I can now substitute for
A
and
B
in the original expression and write:
and then use
cos
(
x′
−
x
)
=
c
o
s
k
x
cos
k
x′
+
sin
kx
sin
k
x′
Since the inner integral is an even function we can write
Now consider the fact that
because
sin
is an odd function, ie.
∫∞
−
∞
sin
(
k
[
x′
−
x
]
)
ⅆ
k
=
0
So we could have written
or
or
where
g
(
k
)
=
∫∞
−
∞
f
(
x
)
eikx
ⅆ
x
is the Fourier transform of
f
(
x
)
.
Symbolically we write g ( k ) = Ϝ { f ( x ) } f ( x ) = Ϝ − 1 { g ( k ) } = Ϝ − 1 { Ϝ { f ( x ) } }
Now these concepts are easily extended to two dimensions:
where
g
(
kx
,
ky
)
=
∫∞
−
∞
∫∞
−
∞
f
(
x
,
y
)
ei
(
x
kx
+
y
ky
)
ⅆ
x
ⅆ
y
.
This tells us is that any nonperiodic function of two variables f ( x , y ) can be synthesized from a distribution of plane waves each with amplitude g ( kx , ky ) .
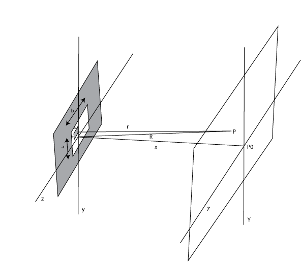
Lets consider Fraunhofer diffraction through an aperture again. For example
consider a rectangular aperture as show in the figure. If
is the source strength per unit area (assumed to be constant over the entire
area in this example) and
dS
=
ⅆ
x
ⅆ
z
is an infinitesmal area at a point in the aperture then we have:

We can define a source strength per unit area
Notice that I flipped the sign in the exponential from what I used in the
earlier lectures on diffraction. This does not change the physics content of
what we are doing in any way, however it allows our notation to follow
standard convention.
If we define ky = k Y / R and kz = Z / R and we see that
That is, it is equal to the Fourier transform. In fact one can define an "Aperture Function" A ( y , z ) . Such that
For a rectangular aperture
inside the aperture and zero outside it. The aperture function can be much
more complex (literally) allowing for changes in source strength and phase
through the aperture. The resulting E field is the Fourier transform of the
aperture function.
The above allows us to relate the Fourier transform of an Aperture and the resulting E field from diffraction through that aperture. To extend this to an array of apertures, requires that one introduce a new concept, the Dirac delta function.
The fundamental definition of the Dirac delta function is
As a special case if f ( x ) = 1
∫∞ − ∞ δ ( x ) ⅆ x = 1
This function has some important properties:
f ( x′ ) = ∫∞ − ∞ f ( x ) δ ( x − x′ ) ⅆ x which follows direction from the definition ie. define a new coordinate a = x − x′ , then x = a + x′ and da = ⅆ x . Then
We also note that δ ( x ) = δ ( − x ) .
It gets even more interesting.
Recall
which we rearrange
suggestively
we also
have
f
(
x
)
=
∫∞
−
∞
f
(
x′
)
δ
(
x′
−
x
)
ⅆ
x′
so we must
have
or
That is the Dirac delta function is the inverse Fourier transform of 1. This
is a very useful property that allows us to do problems like Young's double
slit. Consider the aperture function:
A
=
E0
(
δ
(
y
−
a
/
2
)
+
δ
(
y
+
a
/
2
)
)
where we have represented the slits by Dirac delta functions. Then we obtain
which is exactly what we obtained before. Well that was a lot easier than
what we did earlier in the course!
To handle more complex cases of diffraction using Fourier transforms we need to know the convolution theorem. Say g ( x ) is the convolution of two other functions f and h . Then g ( x ) = f ⊗ h = ∫∞ − ∞ f ( x′ ) h ( x − x′ ) ⅆ x′It is probably best to illustrate convolution with some examples. In each example, the blue line represents the function h ( x − x′ ) , the red line the function f ( x ) and the green line is the convolution. In the animation; follow the vertical green line that is the point where the convolution is being evaluated. Its value is the area under the product of the two curves at that point.

It might be easier to picture what is going on if we capture a couple of frames.


Here is a slightly more complicated example

Finally it is interesting to note what happens when we spread out a few functions, that is in this case, f is a step function in a couple of
Describe what you're looking for in as much detail as you'd like.
Our AI reads your request and finds the best matching books for you.
Popular searches:
Join 2.9 million readers and get unlimited free ebooks